知財アナリストのひとりごと
id:oukajinsugawa
マウス型非侵襲血糖値測定法ですか?それともドクター中松方式?
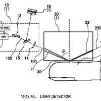
http://techon.nikkeibp.co.jp/article/EVENT/20150414/414180/?ST=health https://shingi.jst.go.jp/past_abst/abst/p/15/jaea/jaea08.pdf 以前に、上のように、手のひらサイズの マウス型非侵襲血糖値センサーを開発した、 ということで、非常に話題になりました。 この特許出願が、どんな発明なのか、 見てみましょう。…