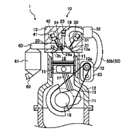
Mazda Develops Highly Efficient Supercharged Two-Stroke Engine

Expanding on an earlier Kawasaki patent suggests Mazda may return to motorcycle manufacture.