つらつらとMAZDA
id:taku2_4885
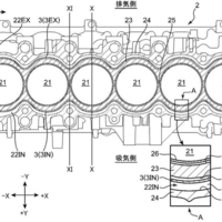
今週新たに公開されたマツダが出願中の特許(2021.3.11)
(画像 ipforce.jp) 今週新たに公開されたマツダが出願中の特許は17件。 その中から気になった内容を取り上げます。