つらつらとMAZDA
id:taku2_4885
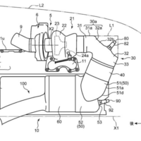
今週新たに公開されたマツダが出願中の特許(2021.5.6)
(画像 ipforce.jp) 本日新たに公開されたマツダが出願中の特許は8件。 その中から気になった内容を取り上げます。