つらつらとMAZDA
id:taku2_4885
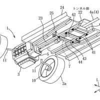
マツダが出願していた「駆動用ロータリーエンジンとインホイールモーターを採用したFRベースのハイブリッド車」に関する特許が登録されました。
(画像 ipforce.jp) 2022年に入ってから情報公開件数が少ない状況が続いているマツダの特許ですが、2020年に出願公開されていた特許が新たに登録されています。