つらつらとMAZDA
id:taku2_4885
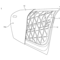
マツダが「軽量化や洗車/ワックス掛けを考慮した自動車用ドア」に関する特許を海外で出願、格納式ハンドルを採用した2ドアクーペ用の可能性も?
(画像 USPTO) 以前から2ドアクーペ・スポーツカーに関係すると思われる特許を多く出願しているマツダですが、海外でスポーツカー用のドアかも"しれない"特許が出願公開されていました。