つらつらとMAZDA
id:taku2_4885
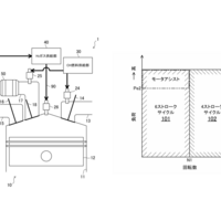
マツダが「燃料改質システムを搭載した6ストロークエンジン」に関する特許を複数出願。
(画像 J-PlatPat) 出願・登録件数が少ない状況が続いているマツダの特許関連情報ですが、今週は気になる内容が公開されました。