つらつらとMAZDA
id:taku2_4885
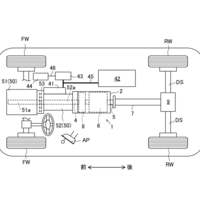
マツダが「トルクコンバーター採用を視野に入れた縦置き用8速AT」に関する特許を出願。
(画像 J-PlatPat) 国内の出願・登録件数が中々増えなかったマツダの特許関連情報ですが、今週は気になる特許出願が公開されています。