つらつらとMAZDA
id:taku2_4885
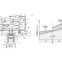
マツダが「燃料改質装置で水素とメタンを生成するガソリンエンジン」に関する特許を出願。
(画像 IP Force.jp) 今週公開されたマツダの特許出願から特に気になる内容を取り上げます。